近日据外媒报道,蔚来汽车向美国专利局申请了一项“车辆自毁系统”(vehicularself-destruct system)专利。美国专利商标局表示,该专利是描述了蔚来电动汽车如何利用电池自动结束自己的“生命”。
	 
 
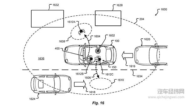
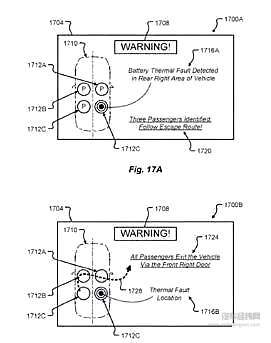
	  其实这是蔚来为了防止灾难性的电池故障夺去人们的性命,而设定的一套安全自毁系统。这套故障感知及控制系统,可以在车辆传感器检测并认定车辆即将遭受电池热失控和电源管理系统大面积失效等无法挽救的情况时,启动警报来提醒乘客及行人尽快远离车辆。随后车辆会启动自动驾驶程序,驶向远离建筑且附近有水源的安全区域。
	 
 
	  此外,蔚来考虑到在车辆充电过程中车辆也有可能发生毁灭性故障,如果发生此类状况,汽车能够自动弹出充电插头并快速驶离。如果这时车库门处于关闭状态,它还能自行冲出车库门。蔚来表示如果车内驾乘人员行动受限时发生此类故障,它还能够得到疏散帮助,通过外部信息警告附近的行人,来提供帮助。
	 
 
	  看到这里我想肯定有很多网友会质疑,在国内目前的道路状况中,此套“自毁系统”很难发挥出其真实作用。所以针对这一疑问,蔚来表示这一专利是完全基于自动驾驶场景下实现的,而在当前环境中,还不能完全应用到实车当中。
	  蔚来汽车目前正处于企业发展的关键时期,可见因此前的自燃事故,蔚来已做出最大化的补救。尽管这一套系统,目前对于新能源汽车的安全提升并没有实质性帮助,但蔚来的这套“自毁系统”绝对具有一定的前瞻性,同时这也代表了蔚来在解决新能源汽车安全问题方面的决心
	 
	  但也有网友表示,蔚来既然申请了这项专利,那么是不是也就意味着蔚来所有的车辆都有可能存在自燃隐患?其实对于目前的新能源汽车而言,笔主反而觉得非常有必要,毕竟对于一辆纯电动汽车的安全性,目前还没有哪一个企业敢拍着胸脯下保证。
	  数据显示,自今年5月起,新能源汽车国家监管平台共发现79起安全事故,涉及车辆96辆。在已查明起火原因的车辆中,41%的车辆处于行驶状态、40%的车辆处于静止状态、19%的车辆处于充电状态。
	  蔚来的“车辆自毁系统”固然有一定的优势,但这是在纯电动汽车安全性无法得到保证前提下的优势。这套系统根本就不是解决新能源汽车安全问题的常规思路,说白了也许这只是蔚来汽车为了消除消费者对于车辆安全顾虑的“缓兵之计”罢了!
						转载文章,不代表本站观点。