在过去十余年间,比亚迪掌握了电动车动力IGBT芯片、电池、电机、电控等核心技术,并以领先的研发、制造、创新实力打出了一张极具说服力的“中国名片”。2020年,比亚迪因紧要时期快速生产口罩等防疫物品而让人感叹比亚迪的制造力。
	  紧接着,比亚迪就连续官宣了几个重大新闻,一个比一个劲爆。
	  4月2日,比亚迪官宣与丰田合资的纯电动车研发公司——比亚迪丰田电动车科技有限公司正式成立。
	 
 
	强强联手开发纯电动汽车 
	  消息显示,合资公司落户于深圳,注册资本为3.45亿元人民币,比亚迪和丰田各出资50%,计划于今年5月内正式开业。由丰田汽车研发中心(中国)有限公司高级执行副总经理岸宏尚担任公司董事长,比亚迪汽车院总体部经理赵炳根担任合资公司总经理。
	 
 
	  为了实现“创造消费者为中心的未来出行、人与自然和谐共享的社会”的共同愿景,比亚迪及丰田内掌握各自技术强项的工程师会在一起切磋造车技艺,开发出受中国消费者喜爱的性能优异的纯电动车型。
	 
 
	  无独有偶,基于比亚迪在电池领域多年深耕积淀出的强大实力,不少车企同样敏锐地捕捉到了新能源领域的先机。
	  早在2010年,奔驰汽车母公司戴姆勒就与比亚迪合资成立了深圳腾势新能源汽车有限公司,探索领先的新能源解决方案。
	  有过与奔驰的合作经验,此次,比亚迪与丰田的合作应该也会少走很多弯路。
	“刀片电池”引领动力电池安全新高度 
	  不由得要提到比亚迪于3月29日推出的“刀片电池”,充分展示了其在动力电池方面的超前技术。这给比亚迪和丰田的合资带来了很好的铺垫。
	
	  此前,比亚迪还于3月初宣布成立弗迪公司,以弗迪电池有限公司、弗迪视觉有限公司、弗迪科技有限公司、弗迪动力有限公司、弗迪模具有限公司五个方向,完成了新能源汽车核心零部件的业务拆分。
	  其中,弗迪电池有限公司的前身就是比亚迪锂电池有限公司,在电池领域具备100%自主研发、设计和生产能力,产品覆盖消费类3C电池、动力电池及储能电池等多个领域。
	 
 
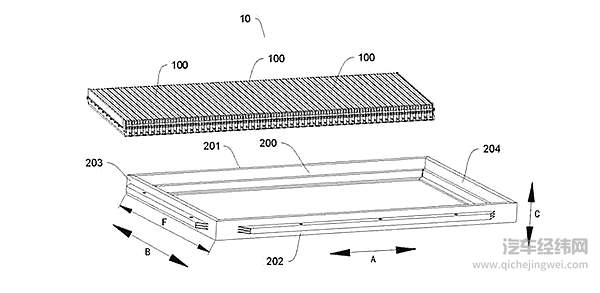
	  新一代磷酸铁锂电池——“刀片电池”就是弗迪电池有限公司的首款新品。之所以用“刀片电池”来命名,是来源于其形状特点,该产品通过长电芯阵列来组成电池包,电芯像刀片一样插入包体内,呈现"刀片"长条形状。
	 
 
	  相较传统电池,“刀片电池”采用了无模组电池成组方式,将电池包整体空间利用率由40%提升到了60%,体积利用率和续航里程提升50%以上,单次充电可续航600公里,可循环充放电3000次以上,支持行驶里程120万公里。
	 
 
	  在发布会上,比亚迪公布了“刀片电池”接受最为严苛的“针刺穿透测试”的视频,从中可以看到:在同样的测试条件下,三元锂电池在针刺瞬间表面温度迅速超过500℃;传统磷酸铁锂电池在被穿透后有烟雾从电池卸压阀喷出;“刀片电池”在穿透后无明火,甚至无烟雾,电池表面的温度仅有30℃左右,电池表面的鸡蛋无变化。
	 
 
	  也就是说,比亚迪“刀片电池”避免了因热失控而导致车辆自燃的状况,即便发生极端事故,也能够为驾乘人员和车辆提供最为极致的安全防护。比亚迪集团董事长兼总裁王传福表示:“它的诞生重新定义新能源汽车的安全标准, 引领全球动力电池安全新高度。”
	 比亚迪集团董事长兼总裁王传福
比亚迪集团董事长兼总裁王传福 
	  据透露,目前“刀片电池”已进入量产阶段,预计将于6月投产上市,目前只在比亚迪汉EV搭载应用。
	  比亚迪汉EV作为“王朝家族”最新旗舰级轿车,在刀片电池的助力下其综合工况续航里程可达到605公里,百公里加速仅为3.9秒。
	  “刀片电池”的问世将加快其由1.0时代步入2.0时代的步伐。在此背景下,比亚迪与丰田的合资公司的首款车型计划于2025年前研发,带领全球新能源汽车市场进入一个更加清洁的时代。